Центробежный вентилятор одностороннего всасывания в спиральном поворотном корпусе, оснащенный двигателем с внешним ротором. Максимальная производительность - 515 м3/ч.
| Параметр | Величина | Единица измерения | |
|---|---|---|---|
| Напряжение | 230 | В | |
| Ток | 0.64 | А | |
| Частота тока | 50 | Гц | |
| Потребляемая мощность | 148 | Вт | |
| Максимальный расход воздуха | 515 303,335 143,17 0,14317 8600,5 | м³/ч CFM л/с м³/c л/м | |
| Частота вращения | 2820 | мин-1 | |
| Уровень звукового давления на расст. 3 м | 68 | дБ(А) | |
| Максимальная температура перемещаемого воздуха | -25 +45 | оС | |
| Защита | IP X4 | класс | |
| Масса | 3.5 | кг | |
| Фазность | 1 | ˜ | |
| Количество полюсов | 2 | ||
| Диаметр рабочего колеса | 140 | мм | |
| Ширина рабочего колеса | 60 | мм | |

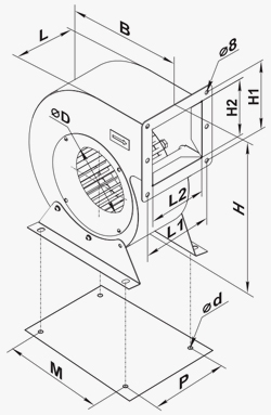
| Размеры | ∅D | B | H | H1 | ∅d | H2 | L | L1 | L2 | M | P |
|---|---|---|---|---|---|---|---|---|---|---|---|
| мм | 140 | 243 | 287 | 125 | 9 | 93 | 85 | 107 | 75 | 150 | 116 |
© ОДО «Семь ветров», 2025
Все права защищены
УНП 190374770
Отдел продаж: +375 17 3957788, +375 17 3705081, +375 17 3747028, +375 29 1507777, +375 29 5687777
Технический отдел: +375 17 3957788, +375 17 3705081, +375 17 3506936, +375 17 3747028, +375 33 3017687
Отдел ОРСТО: +375 17 3506936, +375 29 3128218
Фирменный магазин: +375 17 395 77 88, +375 29 685 69 50
e-mail: torg@7vetrov.by
Рекомендуем ознакомиться: воздуховоды, кухонный вентилятор, расчет вентиляции, вентиляция магазина, вентиляционное оборудование, вентиляция в доме, вентиляционные решетки, вентилятор канальный, приточная установка, вентилятор осевой, вентилятор вытяжной, крышный вентилятор, приточный клапан, сантехнический лючок, дверца ревизионная, вентилятор для ванной, вентилятор радиальный, приточно вытяжная установка, вентиляторы промышленные, вентиляция в квартиру, вытяжка короб, вентиляционные каналы, проветриватель, рекуперация, рекуператор, диффузор, вентилятор, вентилятор оконный, статьи, реверсивный вентилятор, регулятор скорости, Минск, Республика Беларусь.