| Параметр | Величина | Единица измерения | |
|---|---|---|---|
4 | |||
3/4" | |||
DAB VA65/180 | |||
Плавное 0…10 V | |||
Belimo R317 | |||
Belimo LR24A-SR | |||
Резьбовое | |||
DN 20 | |||
2.3 1,3547 0,6394 0,00064 38,41 | м3/ч CFM л/с м³/c л/м | ||
57 0,42921 5,814 0,22914 0,00827 | кПа мм ртут.ст. мм вод.ст. дюйм вод.ст. фунт на дюйм² | ||
-10 +110 | 0С | ||
30 | % | ||
3 | |||
1 | ˜ | ||
78 | Вт | ||
230 | В | ||
4.1 | кг | ||

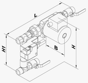
| Размеры | B | H | H1 | L |
|---|---|---|---|---|
| мм | 150 | 290 | 180 | 460 |
© ОДО «Семь ветров», 2025
Все права защищены
УНП 190374770
Отдел продаж: +375 17 3957788, +375 17 3705081, +375 17 3747028, +375 29 1507777, +375 29 5687777
Технический отдел: +375 17 3957788, +375 17 3705081, +375 17 3506936, +375 17 3747028, +375 33 3017687
Отдел ОРСТО: +375 17 3506936, +375 29 3128218
Фирменный магазин: +375 17 395 77 88, +375 29 685 69 50
e-mail: torg@7vetrov.by
Рекомендуем ознакомиться: воздуховоды, кухонный вентилятор, расчет вентиляции, вентиляция магазина, вентиляционное оборудование, вентиляция в доме, вентиляционные решетки, вентилятор канальный, приточная установка, вентилятор осевой, вентилятор вытяжной, крышный вентилятор, приточный клапан, сантехнический лючок, дверца ревизионная, вентилятор для ванной, вентилятор радиальный, приточно вытяжная установка, вентиляторы промышленные, вентиляция в квартиру, вытяжка короб, вентиляционные каналы, проветриватель, рекуперация, рекуператор, диффузор, вентилятор, вентилятор оконный, статьи, реверсивный вентилятор, регулятор скорости, Минск, Республика Беларусь.